文/北京集佳知識產權代理有限公司 宋天凱
創造性判斷在專利申請、審查意見答復、復審以及無效等程序中均占據著重要的地位,而如何判斷一項發明創造是否具備創造性也是代理師和審查人員永恒爭論的話題。
如果發明創造與現有技術存在較大的差異,如發明構思不同、區別技術特征未被公開且不屬于公知常識等,此時,創造性的評價相對簡單,結論也相對明確。但如果發明創造的區別技術特征已經被現有技術所公開、或者區別技術特征被認定為公知常識(區別于最接近現有技術,本文中統稱為被其他現有技術所公開)時,如何論證一項發明創造仍然具備創造性就存在較大的難度。
針對此,筆者將結合一些具體的案例來探析這種情形下的創造性判斷方向。
1 判斷區別技術特征在其他現有技術中的技術效果是否與在本發明創造中相一致
根據審查指南三步法規定,在判斷是否顯而易見時,除了要判斷區別技術特征是否被其他現有技術所公開,還需要判斷該區別技術特征在其他現有技術所起到的作用(即技術效果)與本發明創造中是否一致,并以此來判斷是否存在技術啟示。
但在實際操作中,該區別技術特征在其他現有技術中往往并非核心發明點,導致一些現有技術文件并未就該區別技術特征所要解決的技術問題、所能夠產生的技術效果等進行明確說明,這就造成了只要其他現有技術存在該區別技術特征、即認為該區別技術特征存在與在本發明創造相同的技術效果、即存在技術啟示的想當然的判斷方式,進而直接給出認定本發明創造不具備創造性的錯誤結論。

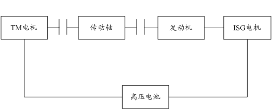
圖1
例如,在一種混合動力汽車的控制方法的發明創造中,如上圖1所示,混合動力汽車包括TM電機、ISG電機、發動機以及傳動軸,在正常行駛時,TM電機、ISG電機、發動機均可以作為動力源,以為傳動軸提供動力,高壓電池可以為TM電機和ISG電機供電;在升擋或者減速狀態時,則由高壓電池回收TM電機和ISG電機所產生的能量,以降低動力源的轉速。然而,在升擋或者減速狀態時,常出現高壓電池自身充電功率受限的情況,高壓電池無法較好地吸收TM電機和ISG電機所產生的電能,使得動力源的轉速無法下降,就會造成升擋失敗或者升擋時間過長、減速過程車輛出現抖動的情況。
對此,本發明創造給出一種方案,在高壓電池供電功率受限、且存在升擋請求時,控制發動機停止噴油、由ISG電機為發動機供電、以反拖發動機、進而消耗ISG電機產生的電能,同時,控制TM電機降速至預設轉速,然后由TM電機驅動所述車輛升擋。在這個過程中,高壓電池僅需要吸收TM電機產生的電能,而非同時吸收兩個電機的電能,TM電機可以產生較大的負扭矩,以使TM電機快速減速,進而保證換擋操作快速、順利地進行。
在對該案件的審查過程中,審查人員找到了最接近現有技術(對比文件1),進而確定區別技術特征為:控制發動機停止噴油、由ISG電機為發動機供電,同時,由TM電機控制車輛升擋。針對該區別技術特征,審查人員又找到了其他現有技術(對比文件2),對比文件2公開了發動機停止噴油時、由電機驅使發動機運轉的方案,至于單電機控制升擋則為現有技術中的常規選擇,故而得出本發明創造不具備創造性的結論。
然而,經分析,對比文件2雖然公開了發動機停止噴油時、由電機驅使發動機運轉的方案,但該方案實際是對發動機停止噴油時的狀態控制,用于避免發動機熄火,與本發明創造存在著較大的區別,因此,對比文件2實際并不能夠就對比文件1產生技術啟示,本發明創造相比于對比文件1、對比文件2應當具備創造性。
2 判斷區別技術特征與最接近現有技術是否能夠結合
在區別技術特征已經為其他現有技術所公開,且區別技術特征在其他現有技術中的技術效果與本發明創造中相同,若根據三步法的一般原則,即可以認定所要求保護的發明創造相對于本領域技術人員而言屬于顯而易見的。但實際上,這種認定相對粗糙,其認定結果尚存在一定的爭議。
2.1 區別技術特征和最接近現有技術的結合是否屬于非A即B的破壞式結合
在現有技術中,從達到某一技術效果的技術目的出發,可以存在諸多的方案,有些方案可以相互補充、疊加,以更好地實現技術效果;但有些方案則無法同時存在,當采用了B方案后,就必須刪除A方案,此時,盡管B方案已經被其他現有技術所公開,但B方案是否可以與采用了A方案的最接近現有技術相結合仍有待商榷。

圖2
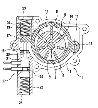
例如,如圖2所示,在一種可變油量泵的發明創造中,包括轉子和定子,轉子的外周插接有若干滑動葉片,定子包括弧形部和桿部,桿部與溫敏部件相接觸。當泵腔內的油溫發生變化時,溫敏部件的長度可以發生變化,能夠推動定子進行直線位移,進而帶動相應滑動葉片插入轉子不同深度,這樣可以調整排量。
在對該案件的審查過程中,審查人員找到了最接近現有技術(對比文件3),如圖3所示,其同樣包括溫敏部件21和定子8、轉子6以及滑動葉片7。所不同的是,對比文件3中的定子為鉸接設置,溫敏部件通過推動定子轉動來調節滑動葉片在轉子中的插接深度,進而調整排量。審查人員認為直線位移和旋轉位移是常規的位移形式,可以相互替換,并以此為由來否定本發明創造的創造性,后續爭辯過程中,審查人員又檢索到了定子可直線位移的其他現有技術,來進一步地否定本發明創造的創造性。

圖3
但是,對于定子而言,旋轉位移和直線位移兩種方式只能擇一選擇,如果采用了旋轉位移,就必須放棄直線位移的方案。如此,如果要將區別技術特征結合到最接近現有技術中,則必然會破壞最接近現有技術本身的方案,在沒有明顯技術啟示的前提下,本領域技術人員實際并不容易想到這種結合方式。因此,本發明創造相比于對比文件3和其他現有技術的結合具備創造性。
2.2 區別技術特征和最接近現有技術是否存在相反的結合啟示
“相反的結合啟示”主要是針對實際要解決的技術問題,通常來說,是指最接近現有技術有明確的或者隱含對區別技術特征所記載的方案持否定態度的描述,以促使本領域技術人員在看到最接近現有技術時沒有動機將區別技術特征結合到最接近現有技術中。
例如,在一種鐵路貨車端墻的發明創造中,該端墻包括若干分板,各分板均包括相間隔的內板部和外板部,相鄰兩分板的內板部彼此焊接、相鄰兩分板的外板部彼此焊接,以構成雙面焊接的端墻,進而可以提高整體的承載能力,能夠避免焊縫處的應力集中而導致的連接弱環的存在。
在對該案件的審查過程中,審查人員找到了最接近現有技術(對比文件4),其是一種列車端墻,包括若干分板,各分板也包括內板部和外板部,但相鄰兩分板的內板部彼此插接、相鄰兩分板的外板部彼此插接。審查人員認為焊接和插接均是常規的連接方式,以焊接來代替插接為本領域技術人員所容易想到,故而不具備創造性。
然而,經仔細閱讀發現,最接近現有技術的背景技術部分明確指出傳統列車端墻采用多塊分板進行焊接連接、導致焊接工作量大的問題。
如此,最接近現有技術給予本領域技術人員的教導實際是如何減少焊接操作,這顯然是與上述區別技術特征相違背的,二者之間存在相反的結合啟示。而且,最接近現有技術所涉及的列車端墻為客運列車端墻,其本身對于承載性能的要求較低,其對于區別技術特征的方案也不存在技術需求。因此,區別技術特征與對比文件4實際并不能夠結合,本發明創造相比于對比文件4和其他現有技術的結合具備創造性。
2.3 最接近現有技術對于區別技術特征是否存在技術需求
結合前述2.1、2.2的內容,如果區別技術特征和最接近現有技術的結合不屬于破壞式的結合、也不存在相反的技術啟示,即區別技術特征與最接近現有技術之間不存在結合障礙,此時,似乎區別技術特征和最接近現有技術可以直接結合,但實際卻并不一定。
仍如上述鐵路貨車端墻的案例,作為最接近現有技術的列車端墻非承載墻體,最接近現有技術對于提高強度、提高承載性能也沒有技術需求,在這種情況下,即便是不存在結合障礙,區別技術特征與最接近現有技術之間也不存在結合啟示,本領域技術人員在看到最接近現有技術的方案時并不容易想到上述區別技術特征。
綜上可知,在發明創造的區別技術特征已經被其他現有技術所公開時,并不意味著本發明創造一定不具備創造性,在具體實踐中,還可以從上述的多個方向去綜合判斷發明創造的創造性,以使得創造性的判斷更為客觀、更為準確。